
|
|
I
have not had much time to get many items in the forsale area below.
Please keep checking back as I will start adding more items soon.
Items
For Sale
|
|
Socket
& Electrical Manufacturer's Items And Their History
|
GECO
Sockets
This section will allow you to date and learn
how to tell one GECO socket from the other.
Hubbell
This is where this site started from. Since this page
was done, there has been much more Hubbell history and information
found which will make for a complete redesign of this page and section
in the soon future.
Hubbell Patents
This section has some early patent research on Hubbell.
It is mostly complete with only a few missing patents which will be
added in when this section is re done into the new format
Wheeler Reflector
Co.
A history of The Wheeler Reflector Company and tips
on how to tell if mirror has been replaced on a shade
Other Manufacturers
This section is a lot of incomplete
work and will be updated shortly. For now it serves to give you some
extended information on some companies, but will be a much better
tool when it is complete
NEC
This section is everything you ever wanted to know about the National
Electrical Code (NEC) but had no one to ask. Downloads of old NEC's,
meetings and much extended information is provided.
Cord Balls & Adjusters
My cord pendant adjuster project, as well as
a good history about them.
|
|
Tutorial
And Early Lighting History
|
|
The Lighting Time Table
To
read the entire tutorial, you can just click on the first link and
then continue to the next section at the bottom of each page. Or,
you can select links below of interest to you.
PRE 1900 SECTION
Overcoming Obstacles
About Early Electric Lighting, Generators, Arc Lamps,
The First Edison Socket, Menlo Park, etc.
The
First Fixtures
About The Start Of The First Incandescent Lighting
Fixtures
Light
Reflection
About Early Light Bulbs And Candle Power vs. WATTS
Edison-Bergmann
About Sigmund Bergmann And The Start Of Bergmann
And Company Lighting Fixtures
Lighting
Break Down
A Quick Break Down Of Different Lighting Time Periods
Styles
1881 to 1884
Bergmann Fixtures And Styles
Other
Pre-1888 Styles
About Early Companies That Sold Lighting Systems
And The Fixtures That They Sold With Their Lighting Systems
The
U.S. Elect. Co.
The United States Electric Company History And Early
Items
The
Brush Elect. Co.
The Brush Electric Company History And Early Items
Thomson-Houston
The Thomson-Houston Electric Company History And
Early Items
Westinghouse
About The Westinghouse Manufacturing Company History
And Early Mergers
Mid
1880's Styles
About The Start Of Electrical Supply Houses and
how new lighting styles came about
Pre
1900 Sockets
About Early Light Sockets And How To Tell The Difference
1887
New Items
1888
New Items
1890
New Items
1891
New Items
1892
New Items
1893
New Items
1894-1896
Items
1897
New Items
1898
New Items
1899
New Items
Above are catalog items sold in different years. There is no space
to duplicate items, so only new and unique items from each year
are shown. You would need to view the catalogs for yourself to be
complete as I am only highlighting items. You can view catalogs
here.
EXTRA INFO
Victor
Shade Holder
About The Victor Shade Holder, Atwood And The Standard
Holder
I.P.
Frink 1899 Items
About
Frink & Wheeler
New
Wheeler Inverted
Three Links About Mirror Reflector Manufacturers
And Their Items And History.
Wheeler Reflector
Co.
NEW - A history of The
Wheeler Reflector Company and tips on how to tell if mirror has
been replaced on a shade
Early Desk Lamps
Some Help In Telling Them Apart
Vitrite And Luminoid
About The Vitrite Holders And Early Vitrite History
Brush-Swan Holder
About Brush-Swan Shade Holders
Cord
Balls
My cord pendant adjuster project, as well as a good
history about them.
POST 1900 SECTION
About
1900 Styles
This section covers a basic into into the 1900 section
covering information about the 1899 transition, electrical code
changes, lighting influence, sharing and licensing of patents and
then into the new section of electrical specialty manufacturers,
Electrical Specialty Manufacturers
Harvey
Hubbell
This section covers some early history periods of
pre Hubbell-Grier, Hubbell-Grier, Harvey Hubbell, Hubbell Company.
It also covers a number of items that helped change lighting styles,
Benjamin
This section covers some early history periods for
the Benjamin Electric MFG. Co, as well as a small section on Dale
and The Federal Electric Company
Dale
Federal
Electric
This post 1900 section continues to be under current
construction
Please Check Back.
|
|
WHO'S WHO?
The
Patent History Of Socket And Switch Manufacturers, Inventors And Their
Inventions
A B1
B2 B3 B4
C D E
F G H-I
J K L M
N-O P Q-R
S T U-V
W X-Y-Z
Currently
Viewing Page A
Patent(s)
Assigned To:
Walter Abbe,
of Brooklyn, New York
President
of the Smith & Winchester Manufacturing Company of South
Windham starting in 1923
|
Notes:
1967 - The death was announced of a well known local manufacturer.
82 year old Walter Abbe Jr. of South Windham, died at the Lawrence
Memorial Hospital in New London. Abbe was born in Brooklyn, N.Y.,
December 16, 1884, a son of Walter and Ida (Patton) Abbe. In 1909
he graduated from the Rensselaer Polytechnic Institute, where he
received an engineering degree. Walter Abbe Jr. had served as president
of the Smith & Winchester Manufacturing Company of South Windham,
builders of heavy paper-making machinery from 1923 to 1954. He then
became chairman of the board until the business was merged with
the Cameron Machine Company of Dover, Delaware in June, 1966. Abbe
was a trustee emeritus of the Windham Hospital, past member and
president of the Willimantic Rotary Club, a member of the Mayflower
society, president of the Guilford Smith Memorial Library from 1931
to 1966
| Patent
No. / Links |
Description
/ Notes |
Patent
Picture
|
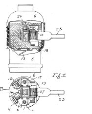
| 1020245 |
Electric
Lamp Socket |
|
Patent
Class:
200/51.17 |
Inventor:
Walter Abbe
Patent Applied For: 06/09/1911
Patent Approved On:
03/12/1912
Witnesses:
M. A. Freedman
Hubert Howson |
| This
socket was to be an improved switch mechanism, with the contacts
well separated from each other. It also provided a quadruple
break at the circuit. |
|
Patent(s)
Assigned To:
The American
Electric Company, Of New Britain Connecticut
Started in 1880 - A pioneer maker of dynamo
and arc-lighting.
Later Know As - The Thomson-Houston Electric Company, Of Boston,
Mass.
Which merged with the
Edison General Electric Company in 1892
| Inventor
Names |
Of |
Patent
Ref. No. |
Applied For |
| Elihu
Thomson |
New
Britain Connecticut |
253958 |
04/09/1881 |
| Edwin
J. Houston |
Philadelphia
Pennsylvania |
259017 |
03-14-1882 |
|
Elihu
Thomson was born in Manchester, England in 1853. He came to the United
States with his parents at the age of five and was raised and educated
in Philadelphia. After graduation from High School, Thomson returned
to his alma mater as a teacher of physics and chemistry. He joined
with Edwin Houston, a fellow teacher, experimenting in things such
as arc-lighting and centrifugal force. They made several inventions
and improvements in both fields. He began work at the American Electric
Company in 1882. He eventually founded the Thomson-Houston Electric
Company and ultimately took over the business of his previous employer.
He continued work in many important fields including arc lamps, transformers,
electric motors, and the Thomson electric meter. Thomson also patented
an electrical welding process. In 1888, Thomson founded a second company,
Thomson Electric Welding, of Lynn, Massachusetts. Thomson attended
Yale after this merger and then continued on to Tufts where he received
a Ph.D. He worked steadily on with the General Electric Company in
Lynn, Massachusetts as director of the electrical division until his
death in 1937. His career spanned five decades during which Thomson
was granted 696 United States patents. Source
Edwin J. Houston (1847�1914) was an American electrical inventor.
He helped design an arc light generator with Elihu Thomson. The Thomson-Houston
Electric Company was formed in 1883 from the merger of the Elihu Thomson's
American Electric Company and the interests of Edwin Houston.
Thomson-Houston
merged with various companies and was later led by Charles A. Coffin,
a former shoe manufacturer from Lynn, Massachusetts. Mergers with
competitors and the patent rights owned by each company made them
in dominant in the electrical industry. As businesses expanded,
it became increasingly difficult for either company to produce complete
electrical installations relying solely on their own technology.
In 1892, they merged with the Edison General Electric Company in
a merger arranged by financier J. P. Morgan, to form the General
Electric Company, with its headquarters in Schenectady, New York.
Charles A. Coffin became General Electric's first president
| Patent
No. / Links |
Description
/ Notes |
Patent
Picture
|
| 253958 |
ELECTRIC
LAMP |
|
Patent
Class:
314/108 |
Inventor:
Elihu Thomson
Assigned To:
The
American Electric Company, Of New Britain Connecticut
Patent Applied For: 04/09/1881
Patent Approved On:
02/21/1882
Witnesses:
E. F. Peck
E. W. Rice |
| In
this patent Thomson invented a regulator which maintained the
arc between two carbons without the use of dash-pots, wheel-work
or the like. |
| Patent
No. / Links |
Description
/ Notes |
Patent
Picture
|
| 259017 |
ELECTRIC
LAMP |
|
Patent
Class:
315/32 |
Inventor:
Edwin J. Houston
Assigned To:
The
American Electric Company, Of New Britain Connecticut
Patent Applied For: 06/06/1882
Patent Approved On:
03/14/1882
Witnesses:
|
| In
this patent, Houston invented an improved lamp by forming electric
connecting joints between the ends of the filaments. |
|
Patent(s)
Assigned To:
Joseph
Amon, of New York N.Y.
A subject of Austria resided in the USA
|
| Patent
No. / Links |
Description
/ Notes |
Patent
Picture
|
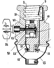
| 856755 |
ELECTRIC
LAMP SOCKET |
|
Patent
Class:
439/657 |
Inventor:
Joseph Amon
Patent Applied For: 03/01/1906
Patent Approved On:
06/11/1907
Witnesses:
|
| A
socket that does not use screws to secure the contact plates. |
|
Patent(s)
Assigned To:
Lauritz
W. Andersen of Waterbury Connecticut
|
There is also a patent found for Lauritz W. Andersen, of Waterbury
Connecticut, under General Electric Company applied for 03/03/1915
Pat. No. 1193966.
| Patent
No. / Links |
Description
/ Notes |
Patent
Picture
|
| 1159346 |
SOCKET
SHELL |
|
Patent
Class:
439/753 |
Inventor:
Lauritz W. Andersen
Patent Applied For: 03/30/1915
Patent Approved On:
11/09/1915
Witnesses:
R. S. Ratto
Adolph J. Storz
|
| An
improvement of connecting the socket cap to the shell body limiting
against rotary movement. |
| Patent
No. / Links |
Description
/ Notes |
Patent
Picture
|
| 1167037 |
SOCKET
SHELL |
|
Patent
Class:
439/753 |
Inventor:
Lauritz W. Andersen
Patent Applied For: 02/24/1915
Patent Approved On:
01/04/1916
Witnesses:
Robert H. Dean
Herbert V. Thompson
|
| An
invention to provide switch insulation in any rotary position
within the shell body. |
|
Patent(s)
Assigned To:
Ernst
Anderson, of Chicago Illinois
|
| Patent
No. / Links |
Description
/ Notes |
Patent
Picture
|
| 861692 |
SWITCH
SOCKET FOR ELECTRIC LAMPS |
|
Patent
Class:
200/51.14 |
Inventor:
Ernst Anderson
Patent Applied For: 11/15/06
Patent Approved On:
07/30/1907
Witnesses:
William L. Hall
George R. Wilkins
|
| This
is a keyless socket type that switches the lamp on and off by
rotating the socket shell sleeve. |
|
Patent(s)
Assigned To:
Craig
R. Arnold, of Philadelphia Pennsylvania
|
| Patent
No. / Links |
Description
/ Notes |
Patent
Picture
|
| 328831 |
INCANDESCENT
ELECTRIC LAMP SWITCH |
|
Patent
Class:
200/51R ; 200/537 |
Inventor:
Craig R. Arnold
Patent Applied For: 12/26/1884
Patent Approved On:
10/20/1885
Witnesses:
S. J. Van Stavoren
Chas. F. Van Horn
|
| |
|
Patent(s)
Assigned To:
The
Arrow Electric Company, Of Hartford, Connecticut
Until 1927 - Later merger
into :
Arrow-Hart
& Hegeman, Incorporated 1927
The
H. & H. Electric Company 1928
Arrow-Hart & Hegeman 1929
| Inventor
Names |
Of |
Patent
Ref. No. |
Patent
Applied For |
| Johann
G. Peterson |
Hartford
Connecticut |
947123 |
10/25/1909 |
| Norman
Marshall |
Newton
Massachusetts |
965206 |
10/19/1908 |
| Frank
L. Rowntree |
Hartford
Connecticut |
1024365 |
10/24/1911 |
| Arvid
H Nero |
New
Britain Connecticut |
1045733 |
10/07/1911 |
| James
G Girling |
Hartford
Connecticut |
1158200 |
05/19/1915 |
| Frederic
P. Gates |
Hartford
Connecticut |
1180997 |
07/15/1915 |
|
Norman Marshall
already had two patents for sockets assigned to himself.
Patent No. 797699 Filed 01/21/1904
Patent No. 811161 Filed 03/31/1904
In 1927 the
Arrow Electric Company becomes Arrow-Hart
& Hegeman, Incorporated. This was shortly after the
death of the principal stockholder who was also the president of the
Hart & Hegeman Manufacturing Company.
The major interests in that company got into touch with those controlling
Arrow, and, after some negotiation, it was agreed that economies could
be effected if the business of both were brought under common control.
In lieu of the original program of distribution of the shares owned
by the holding company to its stockholders, the shares of Arrow were
transferred to a new company, called the Arrow
Manufacturing Company, and those of Hart & Hegeman
to another new company, known as the H. &
H. Electric Company, against the issue of all of the shares
of these companies respectively. The stock so to be issued by these
two new holding companies was, by the direction of the original holding
company, issued directly to its stockholders. As soon as this transfer
of all its assets had been made to the two new holding companies by
the old one, the latter by corporate action dissolved. Thereafter,
pursuant to directors' action, the stockholders, preferred and common,
of the four companies having an interest in the assets (Arrow, Hart
& Hegeman, Arrow Manufacturing Company, and the H. & H. Electric
Company), approved a merger agreement whereby the petitioner, the
Arrow- Hart & Hegeman Electric Company, was formed, which directly
owned in its own right all of the assets formerly belonging to Arrow
and to Hart & Hegeman. These transactions were consummated on
or prior to December 31, 1928, except that the dissolution of the
first holding company did not become final until April 11, 1929; the
law of Connecticut providing that a final certificate of dissolution
should not issue until four months after the filing of the resolution
for dissolution.
(ARROW-HART &
HEGEMAN ELECTRIC CO. v. FEDERAL TRADE COMMISSION, 291 U.S. 587 291
U.S. 587 FEDERAL TRADE COMMISSION No. 363)
Arthur Leffingwell Shipman, who died October 16th, 1937 was a director
of the Arrow Hart and Hegeman Electric Company.
| Patent
No. / Links |
Description
/ Notes |
Patent
Picture
|
| 947123 |
ELECTRIC
LAMP SOCKET |
|
Patent
Class:
439/753 |
Inventor:
Johann G. Peterson
Assigned To:
The
Arrow Electric Company, Of Hartford, Connecticut
Patent Applied For: 10/25/1909
Patent Approved On:
01/18/1910
Witnesses:
D. J. Glazier
Chas. B. Kelsy
|
| A
new socket/shell cap invention designed with teeth and able
to rotate the shell in any position and lock it so that it will
not come apart easily by mistake. |
| Patent
No. / Links |
Description
/ Notes |
Patent
Picture
|
| 959594 |
ELECTRIC
LAMP SOCKET |
|
Patent
Class:
439/753 |
Inventor:
Johann G. Peterson
Assigned To:
The
Arrow Electric Company, Of Hartford, Connecticut
Patent Applied For: 11/03/09
Patent Approved On:
05/31/1910
Witnesses:
Josephine M. Strempfer
Harry R. Williams |
| A
new socket/shell cap invention designed to rotate the shell
in any position and lock it so that it will not come apart easily
by mistake. |
| Patent
No. / Links |
Description
/ Notes |
Patent
Picture
|
| 965206 |
INCANDESCENT
LAMP SOCKET |
|
Patent
Class:
200/299 |
Inventor:
Norman Marshall
Assigned To:
The
Arrow Electric Company, Of Hartford, Connecticut
Patent Applied For: 10/19/1908
Patent Approved On: 07/26/1910
Witnesses:
M. L. Gilman
N. D. McPhail
|
| This
is a new invention of a socket that includes a cap with a nipple
and a swivel nut for clamping the nipple in any predetermined
position. |
| Patent
No. / Links |
Description
/ Notes |
Patent
Picture
|
| 966239 |
ELECTRIC
LAMP SOCKET |
|
Patent
Class:
439/753 |
Inventor:
Johann G. Peterson
Assigned To:
The
Arrow Electric Company, Of Hartford, Connecticut
Patent Applied For: 05/13/1910
Patent Approved On:
08/02/1910
Witnesses:
Herman T. Hartwig
Edward R. Sonir
|
| This
patent fixes a defect in the early version (patent no. 947123)
which was that it was impossible to form an annular groove.
This was fixed by making the catches larger in order to be able
to get a grip which caused them to weaken and get torn off easily.
This patent includes a latching cap ring. |
| Patent
No. / Links |
Description
/ Notes |
Patent
Picture
|
| 985629 |
RECEPTACLE
FOR ELECTRIC LAMPS |
|
Patent
Class:
439/667 |
Inventor:
Johann G. Peterson
Assigned To:
The
Arrow Electric Company, Of Hartford, Connecticut
Patent Applied For: 11/10/1910
Patent Approved On:
02/28/1911
Witnesses:
Benj. Perkins
H. M. Saunders |
| This
switch was designed to prevent the usual vibration that happens
when snapped into the off position. This vibration was known
to be injurious to tungsten lamp type filaments. |
| Patent
No. / Links |
Description
/ Notes |
Patent
Picture
|
| 987152 |
LAMP
SOCKET |
|
Patent
Class:
200/51.15 |
Inventor:
Norman Marshall
Assigned To:
The
Arrow Electric Company, Of Hartford, Connecticut
Patent Applied For: 06/07/1909
Patent Approved On:
03/21/1911
Witnesses:
Warren G. Ogden
N. D. McPhail
|
| This
was a porcelain base, with a pull chain switch mounted inside
that uses a nut to secure it and a guide tube for the pull chain
screwed into the nut. |
| Patent
No. / Links |
Description
/ Notes |
Patent
Picture
|
| 989623 |
LAMP
SOCKET |
|
Patent
Class:
76/7 |
Inventor:
Norman Marshall
Assigned To:
The
Arrow Electric Company, Of Hartford, Connecticut
Patent Applied For: 10/19/1908
Patent Approved On:
04/18/1911
Witnesses:
Warren G. Ogden
N. D. McPhail
|
| |
| Patent
No. / Links |
Description
/ Notes |
Patent
Picture
|
| 1024365 |
PULL
SOCKET |
|
Patent
Class:
200/51.15
|
Inventor:
Frank L. Rowntree
Assigned To:
The
Arrow Electric Company, Of Hartford, Connecticut
Patent Applied For: 10/24/1911
Patent Approved On:
04/24/1912
Witnesses:
Benj. Perkins
H. M. Saunders
|
| A
pull socket having insulating buttons spaced apart the switch
mechanism, a detachable spindle, a center lamp contact being
held by a hollow securing rivet and a detachable chain bell.
|
| Patent
No. / Links |
Description
/ Notes |
Patent
Picture
|
| 1045733 |
ELECTRIC
SWITCH |
|
Patent
Class:
200/51.17 |
Inventor:
Arvid H Nero
Assigned To:
The
Arrow Electric Company, Of Hartford, Connecticut
Patent Applied For: 10/07/1911
Patent Approved On:
11/26/1912
Witnesses:
Benj. Perkins
Helen M. Saunders
|
He
uses a reference to Pat. No. 985629 (Peterson)
|
| Patent
No. / Links |
Description
/ Notes |
Patent
Picture
|
| 1134732 |
ELECTRIC
SWITCH |
|
Patent
Class:
200/428 |
Inventor:
Frederic P. Gates
Assigned To:
The
Arrow Electric Company, Of Hartford, Connecticut
Patent Applied For: 09/23/1913
Patent Approved On:
04/06/1915
Witnesses:
Chas. R. Hare
Geo. A. Gauthier
|
| Improvement
in electric lamp switch providing reverse directions of rotating.
Double quick make - quick break at the contacts. |
| Patent
No. / Links |
Description
/ Notes |
Patent
Picture
|
| 1158200 |
PULL
SOCKET |
|
Patent
Class:
200/51.15 |
Inventor:
James G Girling
Assigned To:
The
Arrow Electric Company, Of Hartford, Connecticut
Patent Applied For: 05/19/1915
Patent Approved On:
10/26/1915
Witnesses:
Frank Alley
Benj. Perkins
|
| An
improved pull connection for porcelain switch of pull sockets.
This new invention uses a pull cord with an attachment to connect
a chain outside the switch. This method was said to prevent
shocks and provide for a smoother more quiet pull. |
| Patent
No. / Links |
Description
/ Notes |
Patent
Picture
|
| 1180997 |
ELECTRIC
LAMP SOCKET |
|
Patent
Class:
200/293 |
Inventor:
Frederic P. Gates
Assigned To:
The
Arrow Electric Company, Of Hartford, Connecticut
Patent Applied For: 07/15/1915
Patent Approved On:
04/25/1916
Witnesses:
B. Heymann
Benj. C. Perkins
|
The
porcelain casing is extended lower then other socket shells,
which in this
invention serves as a reflector which deflects the rays of light
downward. The second improvement is the thumb piece of which
a new invention of using wings was made. As shown on your left
the old style cracked and did not last long. The new style shown
to your right was all one piece and never cracked from age. |
| Patent
No. / Links |
Description
/ Notes |
Patent
Picture
|
| 1245699 |
ELECTRIC
LAMP SOCKET |
|
Patent
Class:
200/538 |
Inventor:
Frederic P. Gates
Assigned To:
The
Arrow Electric Company, Of Hartford, Connecticut
Patent Applied For: 04/11/1916
Patent Approved On:
11/06/1917
Witnesses:
Frank
Alley
Benj. Wilkins
|
| Improvement
in electric lamp sockets to provide a reciprocating switch plate. |
| Patent
No. / Links |
Description
/ Notes |
Patent
Picture
|
| 1316459 |
ELECTRIC
LAMP SOCKET |
|
Patent
Class:
200/51.17 |
Inventor:
Arvid H Nero
Assigned To:
The
Arrow Electric Company, Of Hartford, Connecticut
Patent Applied For: 04/07/1917
Patent Approved On:
09/16/1919
Witnesses:
None Listed
|
| A
socket switch with the minimum possible number of securing screws. |
|
Patent(s)
Assigned To:
Fredrick
C. Aschenbrenner, Of Chicago Illinois
Josepf C. Seyl, Of
Chicago Illinois
Oscar H. E. Fritz, Of
Chicago Illinois
|
| Patent
No. / Links |
Description
/ Notes |
Patent
Picture
|
| 948754 |
INCANDESCENT
LAMP SOCKET |
|
Patent
Class:
200/423 |
Inventor:
Fredrick
C. Aschenbrenner
Assigned To:
Fredrick
C. Aschenbrenner, Of Chicago Illinois
Josepf C. Seyl, Of Chicago Illinois
Oscar H. E. Fritz,
Of Chicago Illinois
Patent Applied For: 02/27/1909
Patent Approved On:
02/08/1910
Witnesses:
John L. Jackson
W. H. De Busk
|
| |
|
Patent(s)
Assigned To:
Charles
Fred Autenrieth, of Brooklyn New York
|
| Patent
No. / Links |
Description
/ Notes |
Patent
Picture
|
| 732695 |
ELECTRIC
SWITCH |
|
Patent
Class:
200/331 |
Inventor:
Charles
Fred Autenrieth
Patent
Applied For: 08/02/1902
Patent Approved On:
07/07/1903
Witnesses:
Jno. J. Ghegan
William A. Kane
|
| A
ceiling switch for electric lights that has been adapted to
be located close a chandelier, where it can be accessible from
the floor to turn the lights on and off. |
|
A B1
B2 B3 B4
C D E
F G H-I
J K L M
N-O P Q-R
S T U-V
W X-Y-Z
Currently Viewing Page A
Back to Other Manufactures
|